电  话:029-85420958
手  机:13309299312
联系人:何经理
传  真:029-85420958
地  址:陕西西安碑林区劳卫路1号西荷花园2号楼1708
长沙分公司
电  话:0731-89725565
手  机:18613979573
地  址:长沙市岳麓区含浦科技园车塘河小区二栋四单元
您的位置:网站首页 > 健身资讯>正文

西游记热门类商标报价十几万 这些商标在谁手里?

作者:admin 来源: 日期:2017-8-11 16:09:11 标签: 人气:

(原标题:“西游记”、“孙悟空”商标在谁手里?)

4月17日,媒体报道称,著名女导演、制片人杨洁女士4月15日因病去世,享年88岁。杨洁导演的86版《西游记》,是国人永生难忘的影视记忆。

1986年春节,《西游记》在央视首播。这部《西游记》,被称为86版西游、或央视版西游,至今已重播超过3000次。导演杨洁的名字,也为观众熟知。

经费极度短缺、只有一台老旧摄像机情况下,杨洁带领演员,耗时6年才拍成25集了《西游记》。杨洁曾说,整个《西游记》剧组也像唐僧师徒一样,拍摄时经历了九九八十一难。

如今,斯人已去,但杨洁导演的《西游记》以及塑造的唐僧、孙悟空、猪八戒、沙和尚等形象,广为人知,甚至形成了品牌。

公司秘闻注意到,目前,包括西游记、孙悟空、猪八戒等师徒4人名称,都已被注册成商标。商标持有人中不乏香港、日本公司。

同时,孙悟空的扮演者六小龄童,甚至已将其在《西游记》中的经典扮相,注册成为“六小龄童”商标。

中介称,有“西游记”商标报价5万

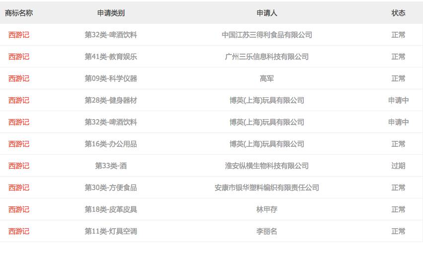
公司秘闻通过查询到,以“西游记”3字作为商标进行注册的,已经多达98个,分布在包括服装鞋帽、家用电器、日化用品、珠宝饰品等45个类别中;这些商标注册时间从1995年到2015年不等。

另一家查询网站的信息显示,目前各个分类的西游记商标均被注册完毕,他人已无法注册。公司秘闻注意到,“西游记”商标的持有人,有自然人、内地企业、外资企业、上市公司等。

西游记热门类商标报价十几万 这些商标在谁手里?

各分类的西游记商标已申请注册,他人无法再进行注册

17日,一位从事商标注册法律服务的律师,告诉公司秘闻,影视剧、文化类名称,在注册商标上,没有什么特殊的规定的,“除了一些已经存在近似或相似的商标、驰名商标、不规范使用汉字、对公众产生误导的商标等不能注册外,其他都可以的。”

注册西游记商标商标最多的,是博英(上海)玩具有限公司,其拥有18项西游记商标,包括运动器械、服装鞋帽、家用纺品、珠宝饰品等多个分类,申请注册时间均为2005年。

天眼查工商信息显示,博英玩具成立于2002年,其股东为群英社国际(香港)股份有限公司。群英社是一家动画出版厂及代理商,代理过神奇宝贝、高达、头文字D等知名动漫。

另一家拥有大量西游记商标的,是百基业(北京)国际企业管理咨询有限公司,其拥有12个类别的西游记商标,申请注册时间均在2011年,注册类别包括火器烟花、乐器乐铺、橡胶制品、缝纫用品、地毯席垫等。

百基业注册于2006年,注册资本1000万元,背后实际控制人为丁坚、陈坚。百基业投资了连云港镜花西游科技产业投资有限公司,该公司的主营业务为科技产业项目投资、文化艺术交流的策划等。

一种说法是,西游记作者吴承恩的故乡,位于江苏淮安。此地与连云港相距不远。

另有一家名为连云港市西游记乐园有限公司的企业,早在2005年便申请注册了西游记商标,使用商品服务包括动物饲养、庭院风景布置、园艺、农场设备出租、植物养护、眼镜行。

此外,北京中科同志科技有限公司、蓝港在线(北京)科技有限公司两家企业也拥有西游记商标。

其中中科同志在新三板挂牌,蓝港在线则是香港上市公司。中科同志申请的5个西游记商标中,3个被驳回;蓝港在线拥有的两个西游记商标,为教育娱乐、科技研究类别。

公司秘闻注意到,一家名为株式会社巨摩的企业在2004年也试图注册3个西游记商标,注册类别分别是科技研究、通讯服务、电子电器。

株式会社巨摩为日本游戏企业, K- Java网络游戏提供商,除西游记外,巨摩2004年还抢注过“三国志麻将”、“巨摩三国志麻将”、“水浒传”商标等。

公司秘闻在一家商标转让网站上看到,目前正有3个类别的“西游记”商标正在寻求转让。

“07机械机器类的西游记商标,卖家报价5万元。”一位中介人员告诉公司秘闻,如食品等热门类别的西游记商标,报价则会更高,“在十几万以上”。

六小龄童也注册了“孙悟空”商标

公司秘闻通过商标圈查询到,以西游记相关素材为名称的商标中,与孙悟空相关商标当属热门。

如注册为“齐天大圣”的商标共有34条结果,注册为“猴哥”的商标共有26条结果,注册为“美猴王”的商标共有37条结果,甚至连“弼马温”都有5个注册商标。这些商标均处于有效状态。

注册为“孙悟空”的商标共有58条结果,处于有效状态,数量最多。连孙悟空的扮演者六小龄童的名字,也被注册成为了商标。

六小龄童原名章金莱,出生于猴戏世家,因在86版《西游记》中扮演美猴王孙悟空而知名。随着《西游记》的广泛传播,六小龄童也变得家喻户晓,以至于很多观众一提到孙悟空,便自然联想到六小龄童。

西游记热门类商标报价十几万 这些商标在谁手里?

86版孙悟空的扮演者六小龄童家人的公司,申请了“六小龄童”、“孙悟空”等商标。

公司秘闻注意到,六小龄童这一名称,早在1994年便被申请注册商标。

据天眼查查询的工商信息,1994年,“六小龄童”被提请注册商标,商标类别为服装鞋帽、糖茶糕点。此后在1997年、1998年、2010年、2012年,“六小龄童”商标先后在书刊办公用品、饮料、食品、日化用品、化工原料试剂类别中被注册。

申请注册“六小龄童”商标的,是一家名为上海六小龄童文化实业有限公司的企业。上海六小龄童文化实业公司拥有17项“六小龄童”商标。

此外,六小龄童实业在2012年还申请了“孙悟空”名称商标。天眼查信息显示,六小龄童实业申请的“孙悟空”商标,包括餐饮、住宿类别,教育、娱乐类别。

西游记热门类商标报价十几万 这些商标在谁手里?

六小龄童实业持有第28类“健身器材类”的“孙悟空”商标。

另一家商标查询网站信息则显示,六小龄童实业申请的健身器材类的“孙悟空”商标,已经注册成功。

除六小龄童实业外,还有部分企业或个人以“六小龄童”为商标注册名。

公司秘闻注意到,与其他企业、个人的商标注册中仅以“六小龄童”各类字体作为商标图案不同,上海六小龄童实业注册的“六小龄童”、“孙悟空”商标,均以六小龄童在86版《西游记》中孙悟空的扮相为商标图案。

上海六小龄童之所以能够以剧照作为商标图案,或因为企业出资人与六小龄童本人有关。公司秘闻查询获知,上海六小龄童实业成立于1994年,注册资本50万元,出资人为章金彦、王树礼,其中章金彦持股60%,担任执行董事。

章金彦为六小龄童(章金莱)大哥兼经纪人。在2012年,上海六小龄童实业还出资10万元,成立了上海六小龄童艺术馆有限公司,章金彦担任法人、执行董事。

公开资料显示,六小龄童实业系从事影视制作、音像出版、商务代理为一体,拥有“六小龄童”品牌糖果系列、矿泉水、童装、童鞋等。

上海六小龄童艺术馆于2012年在上海奉贤开馆,面积为三千平方米,馆内展示六小龄童的图片、海内外各个版本的《西游记》资料、六小龄童多年来收藏的有关《西游记》的各类展品等。

“唐僧”、“沙僧”商标不受热捧

以“猪八戒”为名注册商标的,先后有71个(包括未批准、无效等)。重庆猪八戒网络公司是拥有“猪八戒”商标注册申请最多的企业,共计9个。

重庆猪八戒网是一家服务众包平台,由原记者朱明跃创办于2006年,服务交易品类涵盖创意设计、网站建设、网络营销、文案策划、生活服务等多种行业。

公司秘闻(微信公号ID:high3c)还注意到,早在1984年,即《西游记》还在拍摄期间,三日利株式会社(日本)、三得利株式会社两家日本企业便分别提请注册了共计4个猪八戒商标,类别包括食品饮料、啤酒饮料等。

“沙僧”的注册商标则较少,注册记录显示仅有9起,其中注册成功的仅4个。“唐僧”商标也并不被企业热衷,注册记录显示仅29起,其中14个注册申请由企业作为申请人。

拥有“唐僧”商标最多的为北京易时信通科技有限公司,其在2011年申请了2个类别“唐僧”商标,用于广告商业、科技研究。

声明:因本网站上的健身器材跑步机篮球架体育用品塑胶地板动感单车舞蹈把杆可能因为显示器显示效果不同,如果和实物颜色不符,依实物为主,请大家谅解!具体详情请咨询:029-85420958
本文网址:
Copyright(C)2009-2017 xajsqc.com All Rights Reserved 版权所有·西安大有健身器材有限公司
电话:029-85420958 地址:陕西西安碑林区劳卫路1号西荷花园2号楼1708
页面执行时间0.9219 s